Приемный тракт предназначен для работы в составе несложной СВ-радиостанции, одноканальной с частотной модуляцией, но его можно использовать и как самостоятельное контрольное устройство, принимающее сигнал от радиомикрофона или от охранного передатчика, излучающего тонально модулированный сигнал, не кодированный.
Радиотракт выполнен на относительно доступной элементной базе. Приемный тракт построен по супергетеродинной схеме с одним преобразованием частоты.

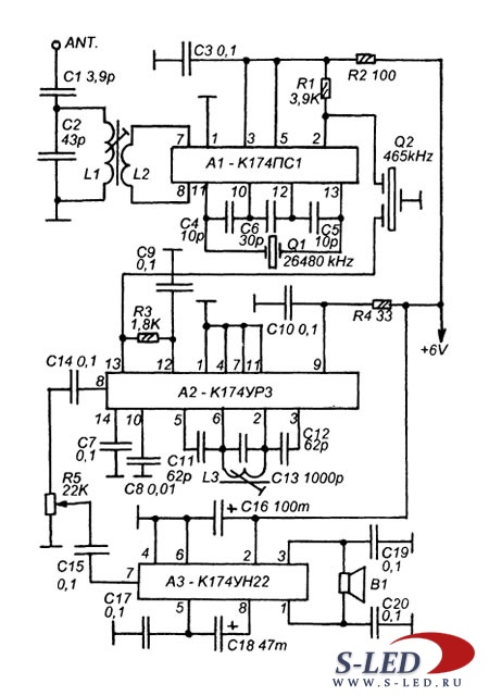
Сигнал от антенны "ANT" поступает на входной контур С2 L1 настроенный на частоту принимаемого канала (в данном случае на 26,945 МГц). Катушка L2 служит для согласования контура с низкоомным симметричным входом преобразователя частоты, собранного на микросхеме А1 (К174ПС1). Гетеродин так же входит в состав этой микросхемы его частота устанавливается кварцевым резонатором Q1. Резистор R1 выполняет роль смесителя.
Сигнал промежуточной частоты выделяется из комплекса частот (на выводе 2 А1) при помощи пьезокерамического фильтра Q2 и поступает на усилитель-ограничитель и ЧМ детектор, выполненные на микросхеме А2 (К174УРЗ). Микросхема включена по схеме, близкой к типовой. Контур L3 С13 работает в фазосдвигающей цепи частотного детектора, он настроен на частоту ПЧ (465 кГц).
Низкочастотный сигнал выделяется на выводе 8 А2, через разделительный конденсатор С14 он поступает на регулятор громкости — переменный резистор R5, с него, через С15, низкочастотный сигнал подается на УМЗЧ, выполненный на микросхеме A3 (К174УН22), микросхема предназначена для работы в выходном каскаде аудиоустройства, работающего на головные телефоны. Она содержит два идентичных УЗЧ. В данном случае эти УЗЧ включены мостом, что дает возможность получить достаточно большую отдачу по мощности при относительно невысоком напряжении питания.
Характеристики:
1. Чувствительность................... 4 мкВ.
2. Напряжение питания...................4... 7 В.
3. Рабочая частота................ 26945 кГц.
4. Выходная мощность ЗЧ............ 0,8 Вт.Схема тракта построена таким образом, что содержит минимум катушек индуктивности. Для входного контура (катушек L1 и L2) взят каркас с алюминиевым экраном от модуля цветности телевизора УСЦТ (или декодера). Катушка L1 содержит 9 витков, намотанных виток к витку, а катушка L2 наматывается поверх L1 и содержит 3 витка. Для намотки использован провод ПЭВ-0,23.
В качестве катушки L3 используется готовая катушка от контура ПЧ карманного радио-приемника, имеющего ПЧ 465 кГц. Конденсатор С13 взят от этого же контура приемника (использован контур от старого приемника "Селга-405"). При самостоятельном изготовлении можно использовать каркас такой же как для катушек L1 и L2, a L3 должна содержать 80 витков провода ПЭВ 0,1, намотанных на длине около 7-8 мм в несколько слоев.
Микросхему К174ПС1 можно заменить на К174ПС4 или на импортные аналоги. Микросхема К174УН22 относительно редкая, более доступны её полные зарубежные аналоги : КА2209, L272M, L2722, NJM2073, TDA2822M, TDA2822D. U2822B.
Динамик можно использовать любой со звуковой катушкой 4..32 Ом. Тракт смонтирован на малогабаритной печатной плате размерами 77х35 мм из двухстороннего фольгированного стеклотексталита. Расположение печатных проводников показано на верхнем рисунке, — это вид со стороны печати. Со стороны деталей фольга протравливается только немного вокруг отверстий не отмеченных крестиками.